
在工信部第403批新车申报目录中信钰证券,蔚来全新旗舰级SUV车型——蔚来ES9的申报图以及申报信息正式曝光。新车基于NT3.0平台打造,定位大型纯电SUV,尺寸全面超越蔚来ES8,以强劲双电机动力、前沿智能配置与越级空间表现,剑指高端大型SUV市场。
根据曝光的申报图来看,新车外观延续蔚来家族化设计语言,细节优化凸显旗舰气场。前脸部分,标志性分体式大灯组清晰可见,上方细长日行灯带与下方主灯组形成分层视觉效果,搭配封闭式格栅与可发光品牌LOGO,科技感拉满。此外,前包围贯穿式饰条位置上移,与侧包围形成一体式布局,相较蔚来ES8更显厚重。此外,从申报图可见车顶激光雷达与犄角式辅助驾驶摄像头,猜测新车将搭载旗舰级的AQUILA 天鹰座超感系统。
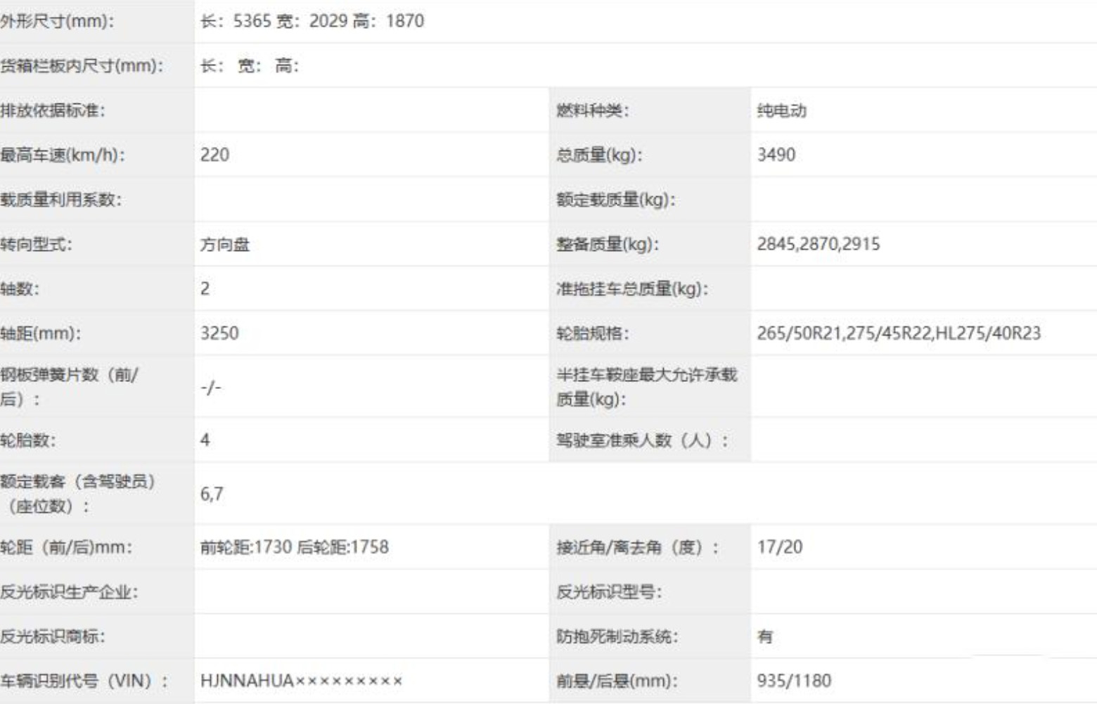
车身侧面线条平直硬朗,隐藏式门把手优化风阻,提供双色车身、21至23英寸多规格轮毂可选,独特的“大饼轮毂”造型强化豪华质感,轮眉处黑化饰条与车身装饰线提升层次感。车尾沿用贯穿式尾灯,搭配后包围贯穿镀铬饰条拉伸横向视觉宽度,车顶扰流板优化高速气流稳定性,整体造型兼顾大气与运动,整备质量控制在2845-2915kg,轻量化表现优异。尺寸方面优势显著,新车车身尺寸为5365/2029/1870mm,轴距达到3250mm,较蔚来ES8(5280/2010/1800mm,轴距3130mm)全面提升。
据申报信息来看,其动力与补能表现尤为亮眼,新车搭载前后双电机四驱系统,前电机最大功率180kW,后电机340kW,综合功率达520kW,峰值扭矩700N·m,最高车速220km/h,零百加速有望进入5秒内。电池方面则来自宁德时代,标配102千瓦时三元锂电池,依托CTP3.0技术提升体积利用率,CLTC续航有望突破570公里,选装大容量电池可达600公里以上,支持3分钟换电与5分钟补能255公里的超快充,彻底缓解里程焦虑。
通弘网配资提示:文章来自网络,不代表本站观点。